Galaxy TriFold sắp ra mắt sẽ có 3 pin và thiết kế thông minh?

Mẫu smartphone gập ba đầu tiên của Samsung dự kiến có thiết kế thông tin và 3 pin, hứa hẹn mang đến trải nghiệm sử dụng tuyệt vời cho người dùng.
Samsung dự kiến sẽ ra mắt Galaxy Z TriFold mới vào cuối năm nay và mới đây, thông tin một bằng sáng chế vừa lộ những thông tin khá thú vị về sản phẩm. Thiết bị mới này dự kiến sẽ sở hữu cơ chế gập độc đáo, khác biệt so với các điện thoại trước đó của công ty Hàn Quốc.

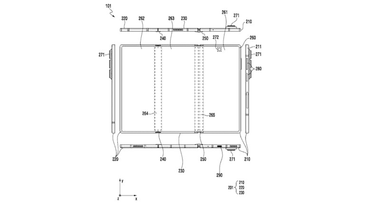
Cụ thể, Galaxy Z TriFold sẽ có ba phần gập vào trong. Không giống như Galaxy Z Fold, vốn gập thành hai phần, mẫu máy mới này sẽ gập theo hình chữ "G" với hai bản lề.
Hai phần ngoài sẽ gập vào giữa, giúp điện thoại nhỏ gọn hơn nhiều khi đóng lại. Khi gập lại, thiết bị trông giống như một chiếc điện thoại thông minh thông thường, kèm theo màn hình phụ.

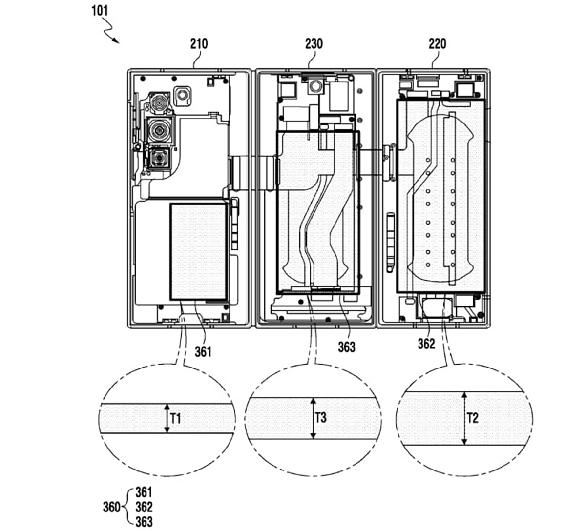
Một điểm thú vị khác của Galaxy TriFold sẽ nằm ở cấu trúc pin của máy. Smartphone này được cho là sẽ sở hữu ba viên pin, với mỗi viên nằm ở một phần của thân máy. Các viên pin này có dung lượng khác nhau để phù hợp với thiết kế gập độc đáo của thiết bị. Nhờ đó, tổng dung lượng pin của TriFold có thể vượt mốc 5,000 mAh, cao hơn so với Galaxy Z Fold7 vốn chỉ có pin 4,400 mAh.
Bằng sáng chế này cũng cho thấy hệ thống camera của Galaxy TriFold trông tương tự như Galaxy Z Fold 7, nhưng đáng tiếc là thông số chi tiết của chúng chưa được tiết lộ. Điện thoại gập ba này hiện được đồn sẽ ra mắt tại Hội nghị Thượng đỉnh APEC ở Gyeongju, Hàn Quốc, từ ngày 31 tháng 10 đến ngày 1 tháng 11.
Nguồn: Sammyfan
Xem thêm:
- Galaxy Z TriFold sẽ ra mắt tại Hội nghị thượng đỉnh APEC 2025 vào ngày 31/10?
- Camera Galaxy Z TriFold sẽ hỗ trợ zoom 100x cực khủng
CellphoneS hiện đang bán nhiều điện thoại gập chất lượng với giá hấp dẫn mà bạn có thể tham khảo ở danh sách bên dưới:
[Product_Listing listid='84612,65920,66467,65313,59734,57153,59736,40421' categoryid="" propertyid="" customlink="https://cellphones.com.vn/bo-loc/dien-thoai-man-hinh-gap-moi-nhat" title="Các mẫu Điện thoại màn hình gập đáng chú ý hiện nay"]

Bình luận (0)