Smartphone Samsung tương lai sẽ có camera selfie tích hợp trong màn hình?

Giống như cảm biến vân tay, camera selfie cũng là một trở ngại mà các nhà sản xuất smartphone sẽ phải vượt qua để có thể làm ra được một chiếc điện thoại với màn hình 'không viền' đúng nghĩa. Tuy nhiên, điều này sẽ gây khá nhiều khó khăn vì cụm camera selfie của smartphone bắt buộc phải ở mặt trước của thiết bị, điều mà iPhone X đã có thể đạt được với phần 'tai thỏ' ở phía trên của máy.
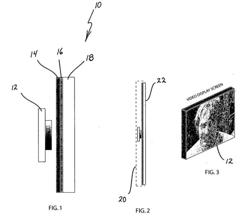
Giờ đây, các smartphone của Samsung cũng có thể làm được điều này và thậm chí còn không cần đến giải pháp 'tai thỏ' khá thiếu tinh tế của Apple. Bằng sáng chế mới được lộ diện của Samsung cho chúng ta thấy được một thiết bị với cụm camera selfie, loa thoại, cảm biến tiệm cận và cảm biến ánh sáng môi trường đều được tích hợp phía dưới màn hình của máy.

Cụm camera mà thiết bị trên sử dụng được đặt ở vị trí thường thấy trên các smartphone truyền thống. Trên lý thuyết, nếu cụm camera này có thể nhìn xuyên màn hình thì Samsung có thể bố trị ở bất kì vị trí nào mà hãng mong muốn. Điều này sẽ giải quyết vấn đề khá khó chịu khi video call mà chúng ta vẫn luôn mắc phải: nhìn vào camera hay nhìn vào mắt người đang gọi?


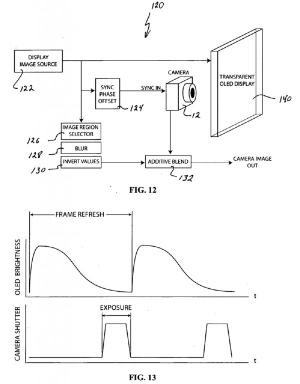
Một bằng sáng chế được đưa ra sớm hơn (được Samsung, Apple, LG và các tên tuổi khác tham khảo) chỉ ra rằng để cho cụm camera trên có thể hoạt động, các hãng sản xuât điện thoại sẽ phải sử dụng màn hình OLED trong suốt. Ngoài ra, tấm nền được chọn cũng sẽ phải có tốc độ làm tươi (refresh rate) cao, cho phép màn hình tắt bật liên tục và camera ở phía dưới màn hình sẽ lưu lại hình ảnh trong khoảng thời gian màn hình không hoạt động.










Bình luận (0)